Chevrolet Trax: Hydraulic clutch system bleeding
WARNING: Refer to Brake Fluid Irritant Warning .
CAUTION: Brake fluid must not come in contact with mineral oils and
greases. The
smallest amount of such could lead to malfunction or breakdown of the
clutch.
CAUTION: Refer to Brake Fluid Effects on Paint and Electrical
Components Caution .
NOTE: The hydraulic clutch actuation must only be bled from "below",
i.e. from the
bleeder valve.
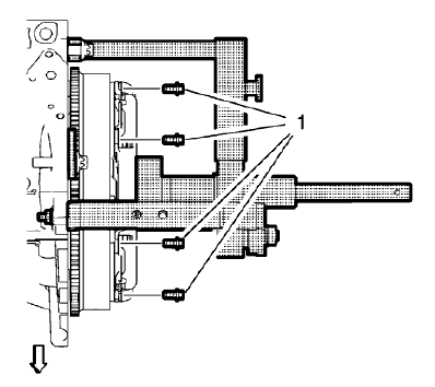
.gif)
Fig. 35: valve cap
NOTE: The following operational stages must be undertaken to fill
the pressure
line between the master cylinder and the clutch actuator cylinder. When
bleeding, ensure that the brake fluid reservoir is always full and does not
run dry.
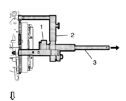
- Bleed pressure line between the clutch master cylinder and the clutch
actuator cylinder using the
following procedure:
- Remove the valve cap (3) from the bleeder valve.
- Fill brake fluid reservoir up to "MAX" marking.
- Press and hold clutch pedal.
- Open bleeder valve until air or air/brake fluid mixture emerges.
NOTE: Do not close the bleeder valve too fast.
- Close the bleeder valve.
- Release the clutch pedal slowly.
- Wait approximately 5 seconds.
- Repeat this bleeding process 4 times.
- Tighten bleeder valve .
- Push valve cap on to bleeder valve to protect the bleeder valve.
- Check shifting for ease of movement with vehicle stationary, with engine
running and with clutch
disengaged.
- Ensure that the fluid reservoir is at the correct level.
- Road test the vehicle to ensure proper operation.
Undertake road test using varying RPM ranges and frequent gear changes, bring
vehicle to operating
temperature during this process. Ensure the brake and clutch system is operating
correctly.
CLUTCH PEDAL POSITION SENSOR REPLACEMENT
Removal Procedure
- Remove the instrument panel knee bolster. Refer to Instrument Panel Knee
Bolster Replacement
(Encore) , Instrument Panel Knee Bolster Replacement (Trax) .
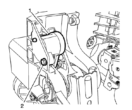
.gif)
Fig. 36: Clutch Pedal Position Sensor And Bolt
- Remove the clutch pedal position sensor bolt (2).
- Remove the clutch pedal position sensor (1).
- Disconnect the clutch pedal position sensor wiring harness connector.
Installation Procedure
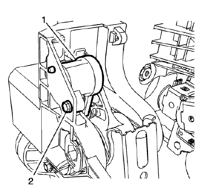
.gif)
Fig. 37: Clutch Pedal Position Sensor And Bolt
- Connect the clutch pedal position sensor wiring harness connector.
- Install the clutch pedal position sensor (1).
CAUTION: Refer to Fastener Caution .
- Install the clutch pedal position sensor bolt (2) and tighten to 3 (27
lb in).
- Install the instrument panel knee bolster. Refer to Instrument Panel
Knee Bolster Replacement
(Encore) , Instrument Panel Knee Bolster Replacement (Trax) .
- Learn clutch pedal position sensor.
CLUTCH PRESSURE AND DRIVEN PLATE REPLACEMENT (1.4L)
Special Tools
- DT-6263 Remover/Installer Kit
- DT-6263-28 Clutch Center Guide
- EN-652 Flywheel Holder
For equivalent regional tools, refer to Special Tools.
Removal Procedure
NOTE:
- To prevent damage to the spring fangs of pressure plate use DT-6263
remover/installer to remove and install clutch pressure plate.
- Note the different lengths of the brackets for attaching DT-6263
remover/installer to lower engine block.
- Remove the transmission. Refer to Transmission Replacement
.gif)
Fig. 38: Flywheel Holder Tool
- Install the EN-652 holder (1) to the engine block.
.gif)
Fig. 39: Special Engine Block Brace Tool
- Attach the DT-6263 remover/installer (1) in conjunction with the
DT-6263-1 brace to the engine block.
- Install the 4 bolts (arrows) to the engine block, but do not tighten yet.
.gif)
Fig. 40: Special Tools
- Attach the DT-6263-28 guide to the DT-6263-30 drift (4).
- Fasten the DT-6263 remover/installer.
- Align the DT-6263-30 centering drift (2) in conjunction with the clutch
center guide through the
DT-6263 remover/installer into the clutch driven plate and crankshaft center
(arrow).
- Tighten the knurled wheel (1).
- Tighten the bolt (3).
- Tighten the 4 bolts installing the DT-6263 remover/installer to the
engine block.
.gif)
Fig. 41: Clutch Removal/Installation Tool
- Preload the clutch springs, using the DT-6263 remover/installer.
- Turn the threaded rod (1) until it rests against the spring tangs of the
clutch pressure plate.
- Measure the distance a.
NOTE: Do NOT turn further than necessary to gain free movement of
the
clutch disc.
- Turn the threaded rod clockwise until the distance a is extended by
approximate 8 mm (0.31 in).
- Check for free movement of the clutch disc.
.gif)
Fig. 42: Clutch Pressure Plate Bolts
NOTE: Ascertain if bolt was assembled with thread lock agent.
- Remove and DISCARD the 6 clutch pressure plate bolts (1).
.gif)
Fig. 43: Special Remover/Installer Tools
- Release the DT-6263 remover/installer (2).
- Turn the threaded rod (1) of the DT-6263 remover/installer
counterclockwise to the stop.
- Remove the DT-6263-30 centering drift (3) in conjunction with the clutch
center guide (arrow).
.gif)
Fig. 44: Clutch Pressure Plate And Driven Plate
- Remove the clutch pressure plate (1) and the driven plate (2).
.gif)
Fig. 45: Clutch Pressure Plate And Driven Plate Inspection Points
NOTE: Clutch pressure plate and driven plate contaminated by
foreign bodies (oil,
cleaning agent etc.) have to be replaced. Check clutch driven plate for
damage and friction rust in the hub profile and replace if necessary. Do
not clean clutch pressure plate and driven plate with a high pressure
cleaner or component washing machine.
- Inspect the clutch pressure plate and the driven plate (1) and replace,
if necessary.
Inspect for:
- Excessive wear
- Burned friction surface
- Oil on friction surface
- Damaged spline hub
- Damaged springs
NOTE: The clutch driven plate has to be replaced if the lining
projection is less
than 0.5 mm (0.020 in) (arrows).
- Inspect the projection of lining at the clutch lining rivets.
- Slide the clutch pressure plate onto the transmission input shaft and
check for easy movement.
Installation Procedure
.gif)
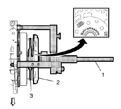
Fig. 46: Clutch Drive Plate
NOTE: The clutch drive plate must be installed so that the German
lettering
"Getriebe-seite" (means Gearbox-side) on the plate is orientated towards
the transmission.
- Install the clutch driven plate (3) and the clutch pressure plate (2).
Center the clutch driven plate, using the DT-6263-30 centering drift (1) in
conjunction with the clutch
center guide.
.gif)
Fig. 47: Preload The Clutch Springs Using Special Tools
NOTE: Do NOT turn further than necessary.
- Preload the clutch springs, using the DT-6263 remover/installer (2).
Turn the threaded rod (1) clockwise until the pressure plate contacts the
flywheel (arrows).
.gif)
Fig. 48: Clutch Pressure Plate Bolts
CAUTION: Refer to Fastener Caution .
NOTE: In the case that the clutch pressure plate bolts where
assembled with
thread lock agent: Service may offer bolts that are not microencapsulated.
If this is the case apply thread lock agent to the bolt. If fastener is
microencapsulated, install NEW clutch pressure plate bolts. DO NOT reuse
the old bolt.
- Install the 6 NEW clutch pressure plate bolts (1). For the correct bolts
refer to the electronic parts catalog.
- Tighten the clutch pressure plate bolts to 28 (21 lb ft).
.gif)
Fig. 49: Special Remover/Installer Tools
- Remove the DT-6263 remover/installer (2) from the engine block.
- Turn the threaded rod (1) of the DT-6263 remover/installer
counterclockwise to the stop.
- Remove the DT-6263-30 centering drift (3) in conjunction with the clutch
center guide (arrow).
- Remove the 4 bolts installing the DT-6263 remover/installer to the
engine block.
.gif)
Fig. 50: Flywheel Holder Tool
- Remove the EN-652 holder (1) from the engine block.
- Install the transmission. Refer to Transmission Replacement .
READ NEXT:
Special Tools
DT-6263 Remover/Installer Kit
DT-6263-32 Clutch Center Guide
EN-652 Flywheel Holder
For equivalent regional tools, refer to Special Tools.
Removal Procedure
NOTE:
To prevent dama
Removal Procedure
Remove the transmission. Refer to Transmission Replacement
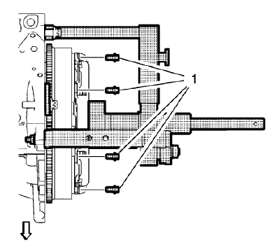
Fig. 64: Actuator Cylinder Pipe Connector Elbow And Clip
Remove the clutch actuator cylinder pipe connector elbow cl
Removal Procedure
Remove the transmission. Refer to Transmission Replacement
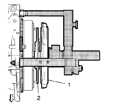
Fig. 70: Clutch Actuator Cylinder Pipe Connector Elbow, Clip And Fastening
Sleeve
Remove the clutch actuator cylind
SEE MORE:
Special Tool
CH 45004 Fuel Tank Drain Hose
WARNING: Never drain or store fuel in an open container. Always use
an approved
fuel storage container in order to reduce the chance of fire or explosion.
WARNING: Place a dry chemical (Class B) fire extinguisher nearby
before performing
any on-vehicle se
Removal Procedure
WARNING: Do not attempt to repair or alter the head impact
energy-absorbing
material glued to the headliner or to the garnish trims. If the material
is damaged, replace the headliner and/or the garnish trim. Failure to
do so could result in personal injury.
CAUTION: If a vehicle i