Chevrolet Trax: Clutch pressure and driven plate replacement (1.6L AND
1.8L)
Special Tools
- DT-6263 Remover/Installer Kit
- DT-6263-32 Clutch Center Guide
- EN-652 Flywheel Holder
For equivalent regional tools, refer to Special Tools.
Removal Procedure
NOTE:
- To prevent damage to the spring fangs of pressure plate use the
DT-6263
remover/installer to remove and install the clutch pressure plate.
- Note the different lengths of the brackets for attaching the DT-6263
remover/installer to the lower engine block.
- Remove the transmission. Refer to Transmission Replacement .
.gif)
Fig. 51: Flywheel Holding Tool
- Install the EN-652 holder (1) to the engine block.
.gif)
Fig. 52: Engine Support Brace
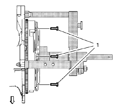
- Attach the DT-6263 remover/installer (1) in conjunction with the
DT-6263-1 brace to the engine block.
- Install the 4 bolts (arrows) to the engine block, but do not tighten yet.
.gif)
Fig. 53: Center Guide And Drift
- Attach the DT-6263-32 guide (5) to the DT-6263-30 drift (4).
- Fasten the DT-6263 remover/installer.
- Align the DT-6263-30 centering drift (2) in conjunction with the clutch
center guide through the
DT-6263 remover/installer into the clutch pressure plate and the crankshaft
center (arrow).
- Tighten the knurled wheel (1).
- Tighten the bolt (3).
- Tighten the 4 bolts installing the DT-6263 remover/installer to the
engine block.
.gif)
Fig. 54: Measuring Distance "a"
- Preload the clutch springs, using the DT-6263 remover/installer.
- Turn the threaded rod (1) until it rests against the spring tangs of the
clutch pressure plate.
- Measure the distance a.
NOTE: DO NOT turn further than necessary to gain free movement of
the
clutch disc.
- Turn the threaded rod clockwise until the distance a is extended by
approximate 8 mm (0.31 lb in).
- Check for free movement of the clutch disc.
.gif)
Fig. 55: Clutch Pressure Plate Bolts
NOTE: Ascertain if bolt was assembled with thread lock agent.
- Remove and DISCARD the 6 clutch pressure plate bolts (1).
.gif)
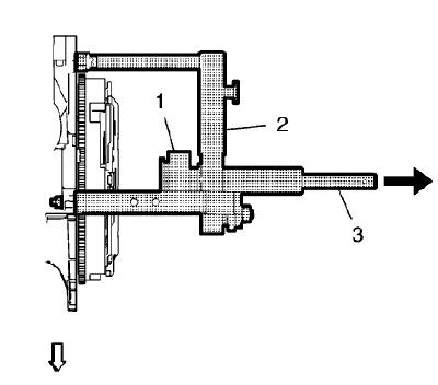
Fig. 56: Centering Drift And Clutch Center Guide
- Release the DT-6263 remover/installer (2).
- Turn the threaded rod (1) of the DT-6263 remover/installer
counterclockwise to the stop.
- Remove the DT-6263-30 centering drift (3) in conjunction with the clutch
center guide (arrow).
.gif)
Fig. 57: Clutch Pressure Plate And Driven Plate
- Remove the clutch pressure plate (1) and the driven plate (2).
.gif)
Fig. 58: Clutch Pressure Plate And Driven Plate Inspection Points
NOTE: Clutch pressure plate and driven plate contaminated by
foreign bodies (oil,
cleaning agent etc.) have to be replaced. Check the clutch driven plate for
damage and friction rust in the hub profile and replace it if necessary. DO
NOT clean the clutch pressure plate and the driven plate with a high
pressure cleaner or component washing machine.
- Inspect the clutch pressure plate and the driven plate (1) and replace
it, if necessary.
Inspect for:
- Excessive wear
- Burned friction surface
- Oil on friction surface
- Damaged spline hub
- Damaged springs
NOTE: The clutch driven plate has to be replaced if the lining
projection is less
than 0.5 mm (0.020 in) (arrows).
- Inspect the projection of the lining at the clutch lining rivets.
- Slide the clutch pressure plate onto the transmission input shaft and
check for easy movement.
Installation Procedure
.gif)
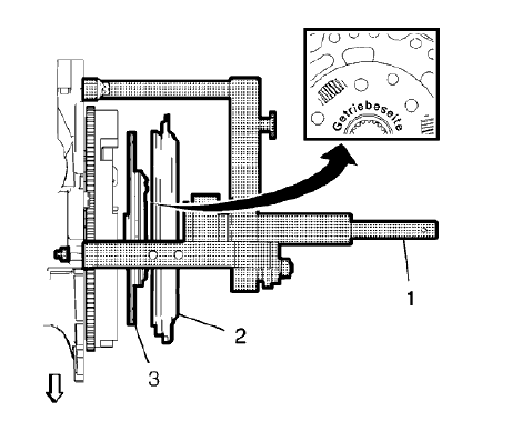
Fig. 59: Installing Bolts To Correct Site
NOTE: The clutch driven plate must be installed so that the German
lettering
"Getriebe-seite" (means Gearbox-side) on the plate is orientated towards
the transmission.
- Install the clutch driven plate (3) and the clutch pressure plate (2).
Center the clutch driven plate, using the DT-6263-30 centering drift (1) in
conjunction with the clutch
center guide.
.gif)
Fig. 60: Preloading Clutch Springs Using Special Tool
NOTE: DO NOT turn further than necessary.
- Preload the clutch springs, using the DT-6263 remover/installer (2).
Turn the threaded rod (1) clockwise until flywheel and pressure plate align (arrows).
.gif)
Fig. 61: Clutch Pressure Plate Bolts
CAUTION: Refer to Fastener Caution .
NOTE: In the case that the clutch pressure plate bolts where
assembled with
thread lock agent: Service may offer bolts that are not microencapsulated.
If this is the case apply thread lock agent to the bolt. If the fastener is
microencapsulated, install NEW clutch pressure plate bolts. DO NOT reuse
the old bolts.
- Install the 6 NEW clutch pressure plate bolts (1). For the correct bolts
refer to the electronic parts catalog.
- Tighten the clutch pressure plate bolts to 15 (11 lb ft).
.gif)
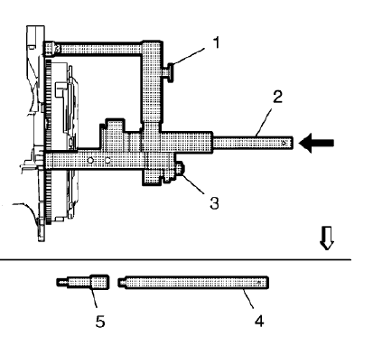
Fig. 62: Centering Drift And Clutch Center Guide
- Remove the DT-6263 remover/installer (2) from the engine block.
- Turn the threaded rod (1) of the DT-6263 remover/installer
counterclockwise to the stop.
- Remove the DT-6263-30 centering drift (3) in conjunction with the clutch
center guide (arrow).
- Remove the 4 bolts installing the DT-6263 remover/installer to the
engine block.
.gif)
Fig. 63: Flywheel Holding Tool
- Remove the EN-652 holder (1) from the engine block.
- Install the transmission. Refer to Transmission Replacement .
READ NEXT:
Removal Procedure
Remove the transmission. Refer to Transmission Replacement
Fig. 64: Actuator Cylinder Pipe Connector Elbow And Clip
Remove the clutch actuator cylinder pipe connector elbow cl
Removal Procedure
Remove the transmission. Refer to Transmission Replacement
Fig. 70: Clutch Actuator Cylinder Pipe Connector Elbow, Clip And Fastening
Sleeve
Remove the clutch actuator cylind
CLUTCH SYSTEM DESCRIPTION AND OPERATION
Clutch Spin Down Time
Inspect the clutch spin down time as follows:
Apply the parking brake and block the vehicle wheels.
Shift the manual transmission into
SEE MORE:
Special Tools
CH-51450-NVH Oscilloscope Diagnostic Kit (w/NVH)
EL-38792-A Electronic Vibration Analyzer (EVA) 2
EL-38792-25 Inductive Pickup Timing Light
EL-47955 Multi Diagnostic Interface MDI
For equivalent regional tools, refer to Special Tools and Equipment.
Test Description
The numbers be
Interim Model Year Design Changes
The purpose of New Product Information is to document, important product
changes which occur either model
year-to-model year or interim model year.
Changes may include one or more of the following items:
Specification Changes
New sealants and/or adhesives
Disa