Chevrolet Trax: Front wheel bearing and hub replacement
Special Tools
CH-50559 Wheel Hub/Bearing Remover Kit
For equivalent regional tools, refer to Special Tools.
Removal Procedure
- Raise and support the vehicle. Refer to Lifting and Jacking the Vehicle
.
- Remove the steering knuckle. Refer to Steering Knuckle Replacement.
.gif)
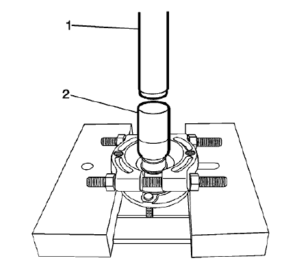
Fig. 10: Steering Knuckle Assembly & Wheel Hub/Bearing Remover Kit
- Position the steering knuckle in a suitable vise.
- Position the CH-50059-1 bridge assembly (1) and the CH-50559-2
removal/installation adapter (2) on
the steering knuckle.
- Use the CH-50059-1 bridge assembly and the CH-50559-2
removal/installation adapter to separate the
front wheel bearing and hub assembly.
.gif)
Fig. 11: Wheel Hub/Bearing Removal/Installation Bridge Assembly And Adapter
- If the front wheel bearing inner race is removed with the front wheel
hub, use a hydraulic press (1) and
appropriate adaptor (2) to remove the race from the hub.
.gif)
Fig. 12: Steering Knuckle Retaining Ring
- Remove the front wheel bearing retaining ring (1) from the steering
knuckle.
.gif)
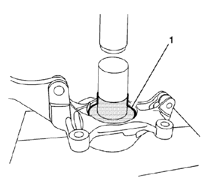
Fig. 13: Wheel Hub/Bearing Removal/Installation Bridge Assembly & Adapter
- Position the CH-50059-1 bridge assembly (1) and the CH-50559-3 wheel
bearing removal adapter (2) on
the steering knuckle.
NOTE:
- Inspect the bore of the steering knuckle for pitting, scoring wear,
or
corrosion.
- Replace the steering knuckle if the damage cannot be easily cleaned
up with light sanding.
- Remove the front wheel bearing from the steering knuckle and discard. DO
NOT reuse the wheel bearing.
Replace with NEW only.
Installation Procedure
.gif)
Fig. 14: Wheel Hub/Bearing Installation Adapter Wheel Hub/Bearing
Removal/Installation Bridge Assembly & Adapter
NOTE: Ensure the front wheel bearing is seated evenly in the
steering knuckle.
- Use the CH-50559-4 installation adapter (1), appropriate extension and
hydraulic press to install the new
front wheel bearing into the steering knuckle.
.gif)
Fig. 15: Wheel Hub/Bearing Remover Kit
- Position the CH-50559-4 installation adapter (1) and the appropriate
extension to the inside of the front
wheel bearing.
- Position the CH-50559-2 removal/installation adapter and the appropriate
extension on the front wheel
hub.
- Press the front wheel hub until it is correctly seated.
.gif)
Fig. 16: Steering Knuckle Retaining Ring
- Install the front wheel bearing retaining ring (1) in the steering
knuckle.
- Verify the front wheel bearing and hub assembly rotates smoothly.
- Install the steering knuckle. Refer to Steering Knuckle Replacement.
READ NEXT:
Removal Procedure
Raise and support the vehicle. Refer to Lifting and Jacking the Vehicle
.
Remove the tire and wheel assembly. Refer to Tire and Wheel Removal and
Installation .
Disconnect th
Special Tools
CH-43631 Ball Joint Separator
For equivalent regional tools, refer to Special Tools.
Removal Procedure
Raise and support the vehicle. Refer to Lifting and Jacking the Vehicle
.
Remo
Special Tools
CH-49375 Spanner
For equivalent regional tools, refer to Special Tools .
Removal Procedure
Remove the air inlet grille panel. Refer to Air Inlet Grille Panel
Replacement (Trax) , Air
SEE MORE:
Diagnostic Instructions
Perform the Diagnostic System Check - Vehicle prior to using this
diagnostic procedure.
Review Strategy Based Diagnosis for an overview of the diagnostic
approach.
Diagnostic Procedure Instructions provides an overview of each
diagnostic category.
DTC Descriptor
DT
REAR SUSPENSION DESCRIPTION AND OPERATION
This vehicle has a beam rear suspension system consisting of the following
components:
An axle with integral trailing arms
A cross beam
Two coil springs
Two standard shock absorbers
Axle Assembly
The axle assembly attaches to the underbody through a r