Chevrolet Trax: Air conditioning system seal replacement
Removal Procedure
- Disassemble the A/C refrigerant components. Refer to the appropriate
repair procedure.
NOTE: Cap or tape the open A/C refrigerant components immediately
to prevent system contamination.
- Cap or tape the A/C refrigerant components
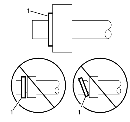
.gif)
Fig. 11: Sealing Washer
- Remove the sealing washer (1) from the A/C refrigerant component.
- Inspect the seal washer for signs of damage to help determine the root
cause of the failure.
- Inspect the A/C refrigerant components for damage or burrs. Repair if
necessary.
NOTE: DO NOT reuse sealing washer.
- DISCARD the sealing washer.
Installation Procedure
NOTE: Flat washer type seals do not require lubrication.
- Inspect the new sealing washer for any signs of cracks, cuts, or damage.
Do not use a damaged sealing washer.
- Remove the cap or tape from the A/C refrigerant components.
.gif)
Fig. 12: Identifying Proper Seating Of A/C Refrigerant O-Ring
- Using a lint-free clean, dry cloth, clean the sealing surfaces of the
A/C refrigerant components.
- Carefully install the NEW sealing washer (1) onto the A/C refrigerant
component.
The sealing washer (1) must completely bottom against the surface of the
fitting.
NOTE: After tightening the A/C components, there should be a slight
sealing gap of approximately 1.2 mm (3/64 in) between the A/C
line and the A/C
component.
- Assemble the remaining A/C refrigerant components. Refer to the
appropriate repair procedure.
AIR CONDITIONING O-RING SEAL REPLACEMENT
Removal Procedure
- Disassemble the A/C refrigerant components. Refer to the appropriate
repair procedure.
- Remove the O-ring seal from the A/C refrigerant component.
- Inspect the O-ring seal for signs of damage to help determine the root
cause of the failure.
- Inspect the A/C components for damage or burrs. Repair if necessary.
NOTE: Cap or tape the open A/C refrigerant components immediately
to prevent
system contamination.
- Cap or tape the A/C refrigerant components.
- Discard the O-ring seal.
Installation Procedure
- Inspect the new O-ring seal for any sign of cracks, cuts, or damage.
Replace if necessary.
- Remove the cap or tape from the A/C refrigerant components.
- Using a lint-free clean, dry cloth, carefully clean the sealing surfaces
of the A/C refrigerant components
NOTE: DO NOT allow any of the mineral base 525 viscosity
refrigerant oil on the
new O-ring seal to enter the refrigerant system.
- Lightly coat the new O-ring seal with mineral base 525 viscosity
refrigerant oil.
NOTE: DO NOT reuse O-ring seals.
- Carefully slide the new O-ring seal onto the A/C refrigerant component.
.gif)
Fig. 13: O-ring
- The O-ring seal (1) must be fully seated.
- Assemble the A/C components.
READ NEXT:
Fig. 14: Air Conditioning Compressor Hose
Air Conditioning Compressor Hose Replacement (LUJ, LUV)
AIR CONDITIONING COMPRESSOR HOSE REPLACEMENT (2H0)
Fig. 15: Air Conditioning Compressor Hose
A
Removal Procedure
Recover the refrigerant. Refer to Refrigerant Recovery and Recharging
(R-134a).
Remove the air cleaner inlet duct. Refer to Air Cleaner Inlet Duct
Replacement (2H0).
Fig. 2
Fig. 30: Air Conditioning Evaporator Hose Assembly
Air Conditioning Evaporator Hose Assembly Replacement (LUJ, LUV)
AIR CONDITIONING EVAPORATOR HOSE ASSEMBLY REPLACEMENT (2H0)
Fig. 31: Air Con
SEE MORE:
Fig. 85: Floor Rear Air Outlet Duct - Left Side
Floor Rear Air Outlet Duct Replacement - Left Side
FLOOR REAR AIR OUTLET DUCT REPLACEMENT - RIGHT SIDE
Fig. 86: Floor Rear Air Outlet Duct - Right Side
Floor Rear Air Outlet Duct Replacement - Right Side
TEMPERATURE VALVE GEAR REPLACEMENT (C60)
To set the parking brake, hold the
brake pedal down and pull up on the
parking brake lever. If the ignition is
on, the brake system warning light
will come on. See Brake System
Warning Light
To release the parking brake, hold
the brake pedal down. Pull the
parking brake lever up until you can
pres