Chevrolet Trax: Turbocharger replacement - Installation Procedure
- Install the assembly parts to the turbocharger as necessary. Refer to
Turbocharger Assemble.
- Clean the sealing surfaces.
.gif)
Fig. 203: Turbocharger Assembly And Gasket
- Install a NEW turbocharger gasket.
- Install the turbocharger assembly (1).
.gif)
Fig. 204: Turbocharger Nuts
- Install the 8 NEW turbocharger nuts (1).
.gif)
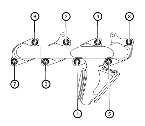
Fig. 205: Turbocharger Nuts Tightening Sequence
CAUTION: Refer to Fastener Caution .
CAUTION: Refer to Torque-to-Yield Fastener Caution .
- Tighten the 8 turbocharger nuts in a sequence as shown to 8 (71 lb in).
- Repeat the tightening procedure to ensure a proper fastening of the
turbocharger nuts.
NOTE: It is only necessary to move the wastegate actuator
aside enough to
access the manifold nuts.
- Install the wastegate actuator and nuts and tighten to 7 (62 lb in).
.gif)
Fig. 206: Turbocharger Oil Return Pipe Bolts
- Install a NEW gasket and the 2 turbocharger oil return pipe bolts (1)
and tighten to 8 (71 lb in).
- Install the warm up three-way catalytic converter. Refer to Warm Up
Three-Way Catalytic Converter
Replacement (2H0, LUV) .
.gif)
Fig. 207: Turbocharger Coolant Feed Pipe Components
- Install the turbocharger coolant feed pipe to the engine block. Use the
following procedure:
- Install a NEW seal ring (3) to the turbocharger coolant feed pipe hollow
screw (4).
- Install the turbocharger coolant feed pipe hollow screw along with the
seal ring to the turbocharger
coolant feed pipe (2).
- Install a NEW seal ring (1) to the turbocharger coolant feed pipe hollow
screw.
- Install the turbocharger coolant feed pipe hollow screw along with the
turbocharger coolant feed
pipe and the 2 seal rings to the engine.
.gif)
Fig. 208: Ratchet Wrench And Holding Wrench
NOTE: The EN-49942 holding wrench should be installed in a
perpendicular
position as shown to ensure a proper installation position of the
turbocharger coolant feed pipe.
- Install the EN-49942 holding wrench (2) to the turbocharger coolant feed
pipe. Guide a ratchet wrench
(1) along with an extension through EN-49942 holding wrench to the
turbocharger coolant feed pipe
hollow screw.
- Install the air conditioning compressor bracket then reposition and
install the air conditioning compressor.
Refer to Air Conditioning Compressor Bracket Replacement (LUJ, LUV) .
.gif)
Fig. 209: Ratchet Wrench, Holding Wrench And Coolant Feed Pipe
NOTE: EN-49942 holding wrench (2) should be installed to the
turbocharger
coolant feed pipe as shown. The holding wrench should be installed to
avoid twist of the turbocharger coolant feed pipe during the fastening
procedure.
- Tighten the turbocharger coolant feed pipe hollow screw with ratchet
wrench and extension (1) to 30 (22
lb ft).
- Install the charge air cooler inlet air hose to the turbocharger. Refer
to Charge Air Cooler Inlet Air
Hose Replacement .
.gif)
Fig. 210: Turbocharger Oil Feed Pipe Components
- Install the turbocharger coolant return pipe bolt (7) and tighten to 8
(71 lb in).
- Install the turbocharger coolant return hose (6) to the oil cooler inlet
pipe.
- Install the turbocharger coolant return hose clamp.
- Install the turbocharger oil feed pipe (2) to the oil cooler and the
turbocharger.
- Install the turbocharger oil feed pipe bolt (5).
- Install the turbocharger oil feed pipe hollow screw (4) along with the 2
NEW seal rings (1) and (3) and
tighten to 30 (22 lb ft).
- Tighten the turbocharger oil feed pipe bolt to 10 (89 lb in).
.gif)
Fig. 211: Turbocharger Wastegate Regulator Solenoid Valve Wiring Harness
Connector And Retaining Clip
- Connect the turbocharger wastegate regulator solenoid valve wiring
harness connector (1) and clip in
wiring harness to retainer clip (2).
- Install the exhaust manifold heat shield. Refer to Exhaust Manifold Heat
Shield Replacement (LUV) .
- Connect the positive crankcase ventilation pipe to the turbocharger.
- Install the air cleaner outlet duct. Refer to Air Cleaner Outlet Duct
Replacement .
- Connect battery negative cable. Refer to Battery Negative Cable
Disconnection and Connection .
- Fill the cooling system. Refer to Cooling System Draining and Filling .
- Use a scan tool to perform the Engine Control Module Setup for Component
Replacement. Refer to
Control Module References .
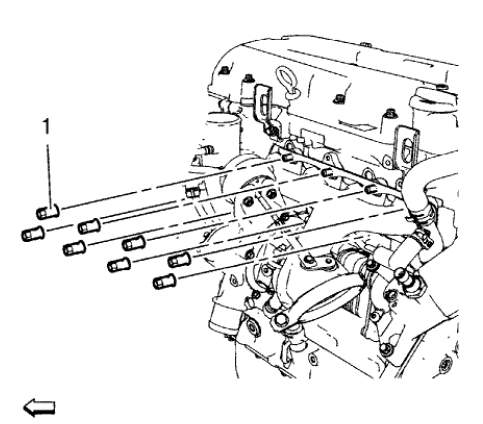
TURBOCHARGER OIL FEED PIPE REPLACEMENT
Removal Procedure
- Disconnect battery negative cable. Refer to Battery Negative Cable
Disconnection and Connection .
- Remove the exhaust manifold heat shield. Refer to Exhaust Manifold Heat
Shield Replacement
(LUV) .
.gif)
Fig. 212: Turbocharger Oil Feed Pipe Components
- Remove the turbocharger oil feed pipe bolt (5).
- Remove the turbocharger oil feed pipe hollow screw (4) and the 2 seal
rings (1) and (3).
- Remove the turbocharger oil feed pipe (2) and the rubber seal ring.
Installation Procedure
- Clean the sealing surfaces.
.gif)
Fig. 213: Turbocharger Oil Feed Pipe Components
- Install the turbocharger oil feed pipe (2) along with a NEW rubber seal
ring.
- Install the turbocharger oil feed pipe hollow screw (4) and 2 NEW seal
rings (1) and (3).
CAUTION: Refer to Fastener Caution .
- Install the turbocharger oil feed pipe bolt (5) and tighten to 8 (71 lb
in).
- Tighten the turbocharger oil feed pipe hollow screw to 20 (15 lb ft).
- Install the exhaust manifold heat shield. Refer to Exhaust Manifold Heat
Shield Replacement (LUV) .
- Connect battery negative cable. Refer to Battery Negative Cable
Disconnection and Connection
TURBOCHARGER OIL RETURN PIPE REPLACEMENT
Removal procedure
- Remove the front wheelhouse liner inner front extension.
.gif)
Fig. 214: Turbocharger Oil Return Pipe Components
- Remove the 2 turbocharger oil return pipe bolts (1).
- Place a drain pan under the oil return pipe vehicle.
- Release the turbocharger oil return pipe connector (4) and disconnect
the turbocharger oil return pipe
from the engine block.
- Remove the turbocharger oil return pipe (2) and the gasket (3).
Installation Procedure
- Clean the sealing surfaces.
.gif)
Fig. 215: Turbocharger Oil Return Pipe Components
- Install the turbocharger oil return pipe (2) in compound with a NEW
gasket (3) and connect to the engine
block.
CAUTION: Refer to Fastener Caution .
- Install the 2 turbocharger oil return pipe bolts (1) and tighten to 8
(71 lb in).
- Lower the vehicle and check for oil leaks.
- Install the front wheelhouse liner inner front extension.
CAMSHAFT COVER REPLACEMENT
.gif)
Fig. 216: Camshaft Cover, Fasteners And Oil Level Indicator
Camshaft Cover Replacement
.jpg)
.jpg)
INTAKE CAMSHAFT REPLACEMENT
Removal Procedure
- Remove the camshaft intake and exhaust sprocket. Refer to Camshaft
Intake and Exhaust Sprocket
Replacement.
.gif)
Fig. 217: Intake Camshaft Bearing Cap Bolts Removal Sequence
- Remove the camshaft bearing cap bolts in sequence shown. Ensure to
remove the bolts one turn at a time
until there is no spring tension pushing on the camshaft.shing on the
camshaft.
.gif)
Fig. 218: Camshaft Bearing Caps And Bolts
NOTE: Mark the camshafts bearing caps and the camshaft upon removal
to
ensure installation is in the correct position.
- Remove the camshaft bearing cap bolts (1).
- Remove the camshaft bearing caps (2).
- Remove the intake camshaft (3).
Installation Procedure
.gif)
Fig. 219: Camshaft Bearing Caps And Bolts
NOTE: Ensure that the camshaft sealing rings are in place in the
camshaft
grooves. Camshaft sealing rings must be in place below the surface of the
camshaft journal in order to avoid being pinched between the cylinder
head and the camshaft caps.
- Lubricate the camshaft and camshaft bearing caps with engine oil.
- Install the intake camshaft (3).
- Install the camshaft bearing caps (2).
CAUTION: Refer to Fastener Caution
- Install the camshaft bearing cap bolts and tighten the bolts hand tight
(1).
.gif)
Fig. 220: Intake Camshaft Bearing Cap Bolts Tightening Sequence
- Install and tighten the camshaft bearing cap bolts one turn at a time in
sequence as shown to 8 N.m (71 lb
in).
- Install the camshaft intake and exhaust sprocket. Refer to Camshaft
Intake and Exhaust Sprocket
Replacement.
EXHAUST CAMSHAFT REPLACEMENT
Removal Procedure
- Remove the camshaft intake and exhaust sprocket. Refer to Camshaft
Intake and Exhaust Sprocket
Replacement
.gif)
Fig. 221: Camshaft Position Exciter Wheels And Camshaft Sprocket Bolts
- Remove and DISCARD the camshaft sprocket bolts (2) and the camshaft
position exciter wheels (1).
- Allow the both camshaft sprockets with the timing chain to rest on the
engine front cover.
.gif)
Fig. 222: Exhaust Camshaft Bearing Cap Bolts Removal Sequence
- Remove the camshaft bearing cap bolts in sequence shown. Ensure to
remove the bolts one turn at a time
until there is no spring tension pushing on the camshaft.
.gif)
Fig. 223: Camshaft Bearing Caps And Bolts
NOTE: Mark the camshafts upon removal to ensure installation is in
the correct
position.
- Remove the camshaft bearing cap bolts (1).
- Remove the camshaft bearing caps (2).
- Remove the exhaust camshaft (3).
Installation Procedure
.gif)
Fig. 224: Camshaft Bearing Caps And Bolts
NOTE: Ensure that the camshaft sealing rings are in place in the
camshaft
grooves. Camshaft sealing rings must be in place below the surface of the
camshaft journal in order to avoid being pinched between the cylinder
head and the camshaft caps.
- Lubricate camshaft and camshaft bearing caps with engine oil.
- Install the exhaust camshaft (3).
- Install the camshaft bearing caps (2).
CAUTION: Refer to Fastener Caution .
- Install the camshaft bearing cap and hand tighten the bolts (1).
.gif)
Fig. 225: Exhaust Camshaft Bearing Cap Bolts Tightening Sequence
- Install and tighten the camshaft bearing cap bolts one turn at a time in
sequence as shown 8 N.m (71 lb
in).
- Install the camshaft intake and exhaust sprocket. Refer to Camshaft
Intake and Exhaust Sprocket
Replacement.
VALVE STEM OIL SEAL AND VALVE SPRING REPLACEMENT
Special Tools
- EN-50717 Basic Kit, Spring and Wedge Replacer
- EN-840 Pliers / Remover
- EN-958 Installer
- EN-952 Fixing Pin
For equivalent regional tools, refer to Special Tools.
Removal Procedure
- Raise and support the vehicle. Refer to Lifting and Jacking the Vehicle
.
- Remove the front wheelhouse liner . Refer to Front Wheelhouse Liner
Replacement (Trax) , Front
Wheelhouse Liner Replacement (Encore) .
- Lower the vehicle.
- Remove the hydraulic valve lash adjuster arms. Refer to Hydraulic Valve
Lash Adjuster Arm
Replacement.
- Remove the spark plugs. Refer to Spark Plug Replacement .
NOTE: Wheels must contact the ground.
- Shift to 5. gear (MT) or park position (AT) and apply the park brake.
- Adjust the engine to TDC of cylinder 1 and fix the crankshaft. Refer to
Camshaft Timing Chain
Adjustment.
.gif)
Fig. 226: Crankshaft Balancer Marking Position
- Mark the crankshaft balancer 180º opposed to the cylinder 1 TDC marking.
Intake Valve Stem Oil Seal Removal Cylinder 1
.gif)
Fig. 227: Rail Tightening Bolt And Supports
- Prepare the 2 50717 supports (1) for the installation by tightening the
support head in a centered position
to the rail with the bolt (2).
.gif)
Fig. 228: Intake Valve Stem Oil Seal Removal Components
- Install the EN-6086-5 mounting shaft (3) along with the 2 EN-6086-6
supports (4) and the EN-6086-8
handle to the cylinder head.
NOTE: The demounting piece must point to the intake side.
- Install the EN-6086-7 lever (2) along with the EN-6086-11 demounting
piece (1) to the mounting shaft.
- Position the mounting shaft centered above the spark plug bores and
tighten the 4 fasteners (6).
- Install the EN-6086-15 pneumatic adapter (5) to the spark plug screw
bore of cylinder 1.
- Apply air pressure to cylinder 1.
.gif)
Fig. 229: Valve Spring Tension Lever And Demounting Piece
- Remove the valve keys, valve spring retainers and the valve springs of
the intake valves of cylinder 1,
using the following procedure:
CAUTION: The demounting piece part of EN-6086 Basic Kit, Spring and
Wedge Replacer must be applied parallel to the valve retainers
in order to prevent damage to the tools or the valve train
components. If demounting piece is not applied parallel it could
cause damage to the valve stem keys or the valve retainers.
- Apply tension to the valve springs, using the EN-6086-7 lever (1) and
the EN-6086-11 demounting
piece (2) until the valve keys are discharged from spring load and remove
the valve keys.
- Release tension from the valve springs and remove the valve spring
retainers and the valve springs.
.gif)
Fig. 230: Pliers And Intake Valve Stem Oil Seals
- Remove the intake valve stem oil seals (2) of cylinder 1, using the
EN-840 pliers (1).
Intake Valve Stem Oil Seal Installation Cylinder 1
.gif)
Fig. 231: Intake Valve Stem Oil Seal Installation Tool
NOTE: Lubricate the NEW intake valve stem oil seals with clean
engine oil.
- Install the NEW intake valve stem oil seals of cylinder 1, using the
EN-958 installer (1).
.gif)
Fig. 232: Valve Key Installation Mounting Piece Components
- Prepare the EN-6086-200-1 mounting piece for the valve key installation.
The mounting piece must be
assembled in the following order:
- Support (6)
- Bushing (5)
- Spring (4)
- EN-6086-200-10 plunger (3)
- Screw Connection (2)
- Lever Adapter (1)
.gif)
Fig. 233: Valve Keys And Mounting Piece
- Install the valve keys (1) to the mounting piece (2) and fix them with
the bushing.
.gif)
Fig. 234: Assembled Mounting Piece
- Install the intake valve springs, the intake valve spring retainers and
the intake valve keys, using the
following procedure:
- Replace the EN-6086-11 demounting piece with the assembled EN-6086-200-1
mounting piece
(1).
- Install the intake valve springs and the intake valve spring retainers
to the cylinder head.
CAUTION: The demounting piece part of EN-6086 Basic Kit, Spring and
Wedge Replacer must be applied parallel to the valve retainers
in order to prevent damage to the tools or the valve train
components. If demounting piece is not applied parallel it could
cause damage to the valve stem keys or the valve retainers.
NOTE: The cone side of the valve keys must point to the valve stem.
- Push down the mounting piece (1) using the lever (2) until the valve
keys are hearable engaged.
.gif)
Fig. 235: Intake Valve Keys
- Inspect the intake valve keys (1) for proper seat.
Exhaust Valve Stem Oil Seal Removal Cylinder 1
Remove the exhaust valve stem oil seals of cylinder 1:
- Transfer the EN-6086-7 lever to the exhaust side of cylinder 1.
- Replace the EN-6086-200-1 mounting piece with the EN-6086-11 demounting
piece.
- Remove the exhaust valve keys, exhaust valve spring retainers, exhaust
valve springs and the exhaust
valve stem oil seals as described above.
Exhaust Valve Stem Oil Seal Installation Cylinder 1
- Replace the EN-6086-11 demounting piece with the assembled EN-6086-200-1
mounting piece (1).
- Install the exhaust valve keys, exhaust valve spring retainers, exhaust
valve springs and the exhaust valve
stem oil seals of cylinder 1 as described above.
Intake Valve Stem Oil Seal Removal Cylinder 4
- Release the air pressure from cylinder 1.
- Transfer the EN-6086-15 pneumatic adapter from cylinder 1 to the spark
plug bore of cylinder 4.
- Apply air pressure to cylinder 4.
- Transfer the EN-6086-7 lever to the intake side of cylinder 4.
- Replace the EN-6086-200-1 mounting piece with the EN-6086-11 demounting
piece.
- Remove the intake valve keys, intake valve spring retainers, intake
valve springs and the intake valve
stem oil seals of cylinder 4 as described above.
Intake Valve Stem Oil Seal Installation Cylinder 4
- Replace the EN-6086-11 demounting piece with the assembled EN-6086-200-1
mounting piece.
- Install the intake valve keys, intake valve spring retainers, intake
valve springs and the intake valve stem
oil seals of cylinder 4 as described above.
Exhaust Valve Stem Oil Seal Removal And Installation Cylinder 4
Replace the exhaust valve keys, exhaust valve spring retainers, exhaust valve
springs and the exhaust valve
stem oil seals of cylinder 4 as described above.
Intake Valve Stem Oil Seal Removal Cylinder 2
- Release the air pressure from cylinder 4.
- Raise the vehicle.
- Remove the EN-952 fixing pin from the crankshaft.
.gif)
Fig. 236: Crankshaft Balancer Markings
- Rotate the crankshaft balancer in engine rotation direction until the
180º opposite marking (2) aligns with
the marking (1) on the engine front cover.
- Lower the vehicle.
NOTE: Wheels must contact the ground.
- Block the engine by shifting the 5. gear (MT) or park position (AT) and
applying the park brake.
- Transfer the EN-6086-15 pneumatic adapter from cylinder 4 to the spark
plug bore of cylinder 2.
- Apply air pressure to cylinder 2.
- Transfer the EN-6086-7 lever to the intake side of cylinder 2.
- Replace the EN-6086-200-1 mounting piece with the EN-6086-11 demounting
piece.
- Remove the intake valve keys, intake valve spring retainers,
intake valve springs and the intake valve
stem oil seals of cylinder 2 as described above.
Intake Valve Stem Oil Seal Installation Cylinder 2
- Transfer the EN-6086-7 lever to the exhaust side of cylinder 2.
- Replace the EN-6086-11 demounting piece with the assembled EN-6086-200-1
mounting piece (1).
- Install the intake valve keys, intake valve spring retainers, intake
valve springs and the intake valve stem
oil seals of cylinder 2 as described above.
Exhaust Valve Stem Oil Seal Removal And Installation Cylinder 2
Replace the exhaust valve keys, exhaust valve spring retainers, exhaust valve
springs and the exhaust valve
stem oil seals of cylinder 2 as described above.
Intake Valve Stem Oil Seal Removal Cylinder 3
- Release the air pressure from cylinder 2.
- Transfer the EN-6086-15 pneumatic adapter from cylinder 2 to the spark
plug bore of cylinder 3.
- Apply air pressure to cylinder 3.
- Transfer the EN-6086-7 lever to the intake side of cylinder 3.
- Replace the EN-6086-200-1 mounting piece with the EN-6086-11 demounting
piece.
- Remove the intake valve keys, intake valve spring retainers, intake
valve springs and the intake valve
stem oil seals of cylinder 3 as described above.
Intake Valve Stem Oil Seal Installation Cylinder 3
- Transfer the EN-6086-7 lever to the exhaust side of cylinder 3.
- Replace the EN-6086-11 demounting piece with the assembled EN-6086-200-1
mounting piece.
- Install the intake valve keys, intake valve spring retainers, intake
valve springs and the intake valve stem
oil seals of cylinder 3 as described above.
Exhaust Valve Stem Oil Seal Removal And Installation Cylinder 3
Replace the exhaust valve keys, exhaust valve spring retainers, exhaust valve
springs and the exhaust valve
stem oil seals of cylinder 3 as described above.
Installation Procedure
- Release air pressure from cylinder 3.
- Remove the EN-6086-15 pneumatic adapter.
- Remove all parts of EN-50716 spring and wedge replacer.
- Shift to neutral gear and release the park brake.
- Adjust the engine to TDC of cylinder 1 and fix the crankshaft with
EN-952 fixing pin.
- Install the spark plugs. Refer to Spark Plug Replacement .
- Install the hydraulic valve lash adjuster arms. Refer to Hydraulic Valve
Lash Adjuster Arm
Replacement.
- Raise the vehicle.
- Remove the EN-952 fixing pin and install the crankshaft bearing cap tie
plate hole plug. Refer to Camshaft Timing Chain Adjustment.
- Install the front wheelhouse liner . Refer to Front Wheelhouse Liner
Replacement (Trax) , Front
Wheelhouse Liner Replacement (Encore) .
- Lower the vehicle.
READ NEXT:
Fig. 237: Engine Support Fixture Components
Engine Support Fixture
ENGINE MOUNT BRACKET REMOVAL
Fig. 238: Engine Mount Bracket And Bolts
Remove the 3 engine mount bracket bolts (1).
Remove
Special Tools
EN-952 Fixing Pin
EN-953-A Fixing Tool
EN-49977-100 Fixation Sensor Discs
For equivalent regional tools, refer to Special Tools.
Remove the ignition coil. Refer to Ignition Coil R
SEE MORE:
The power steering control module scan tool data parameters list contains all
power steering related parameters
that are available on the scan tool. The list is arranged in alphabetical order.
A given parameter may appear in
any one of the data lists.
Power Steering Control Module Scan Tool Data P
This vehicle may have a Tire
Pressure Monitor System (TPMS).
The TPMS is designed to warn the
driver when a low tire pressure
condition exists. TPMS sensors are
mounted onto each tire and wheel
assembly, excluding the spare tire
and wheel assembly. The TPMS
sensors monitor the air pressure in
the t