FASTENER TIGHTENING SPECIFICATIONS
Fastener Tightening Specifications
.jpg)
.jpg)
.jpg)
ENGINE MECHANICAL SPECIFICATIONS
Engine Mechanical Specifications
.jpg)
.jpg)
.jpg)
.jpg)
.jpg)
ADHESIVES, FLUIDS, LUBRICANTS, AND SEALERS
Adhesives, Fluids, Lubricants, and Sealers
.jpg)
COMPONENT LOCATOR
DISASSEMBLED VIEWS
Accessory Drive Components
.gif)
Fig. 1: Locating Accessory Drive Components
.jpg)
.jpg)
Engine Front Cover And Oil Pump Assembly (1 of 2)
.gif)
Fig. 2: Locating Engine Front Cover And Oil Pump Assembly Components (1 Of 2)
.jpg)
.jpg)
Engine Front Cover And Oil Pump Assembly (2 of 2)
.gif)
Fig. 3: Locating Engine Front Cover And Oil Pump Assembly Components (2 Of 2)
.jpg)
Timing Chain Components
.gif)
Fig. 4: Timing Chain Components
.jpg)
.jpg)
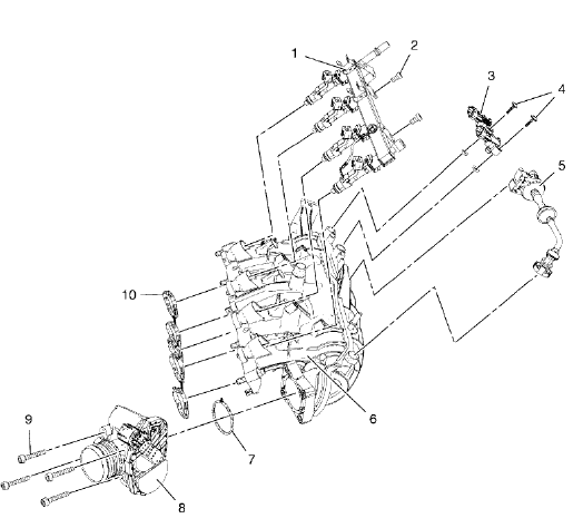
Intake Manifold Assembly- 1.4L LDD
.gif)
Fig. 5: Locating Intake Manifold Assembly Components - 1.4L LDD
.jpg)
.jpg)
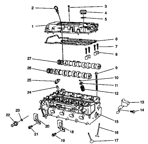
Cylinder Head Assembly
.gif)
Fig. 6: Identifying Cylinder Head Assembly Components
.jpg)
.jpg)
Engine Block Assembly- 1.4L LDD
.gif)
Fig. 7: Identifying Engine Block Assembly Components - 1.4L LDD
.jpg)
.jpg)
Engine Block Assembly- 1.4L LUH and LUJ
.gif)
Fig. 8: Identifying Engine Block Assembly Components - 1.4L LUH and LUJ
.jpg)
.jpg)
Intake Manifold Assembly- 1.4L LUH and LUJ
.gif)
Fig. 9: Intake Manifold Assembly - 1.4L LUH and LUJ
.jpg)
Exhaust Side- 1.4L LUH and LUJ
.gif)
Fig. 10: Identifying Exhaust Side Components - 1.4L LUH and LUJ
.jpg)
.jpg)
ENGINE IDENTIFICATION
Engine Number

Fig. 11: Locating Engine Number
Courtesy of GENERAL MOTORS COMPANY
NOTE: The engine identification number must be stamped to the cylinder block in case of engine replacement.
The engine number is stamped to the engine block (1).
Diagnostic information and procedures
Repair instructions - on vehicle
DTC B0081 (Inflatable restraint sensing and diagnostic module): passenger
presence module
Passenger Airbag Status Indicator (U.S. and Canada)