Chevrolet Trax: Rear axle replacement
Special Tools
- CH 51035 Rear Axle Supporter Adapter
- DT 50187 Rear Axle Supporter
For equivalent regional tools, refer to Special Tools .
Removal Procedure
- Raise and support the vehicle. Refer to Lifting and Jacking the Vehicle
.
- Remove the tires and wheel assembly. Refer to Tire and Wheel Removal and
Installation .
- Remove the park brake cables from the rear axle.
NOTE: Cap the rear brakes lines so as to prevent the hydraulic
brake system from
being contaminated.
- Remove the rear brake line from the rear axle.
NOTE: Relocate the rear brake assembly to the side using mechanics
wire.
- Remove the rear spring. Refer to Rear Spring Replacement.
- Remove the rear wheel bearing/hub from the rear axle. Refer to Rear
Wheel Bearing and Hub
Replacement (With Disc Brakes), Rear Wheel Bearing and Hub Replacement (With
Drum Brakes).
- Install the DT 50187 supporter with the CH 51035 adapter on a hydraulic
jack or an appropriate support,
and using a hydraulic jack stand with the supporter, support the rear axle
assembly.
.gif)
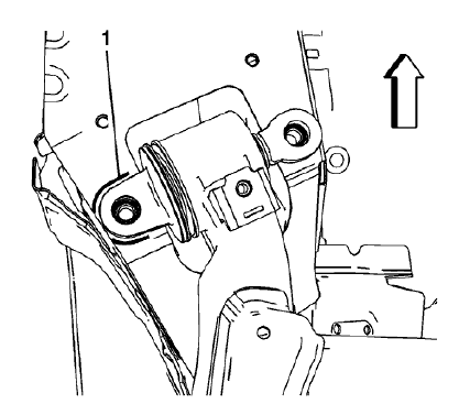
Fig. 14: Rear Axle Mounting Bracket
- Using a bright colored paint, mark (1) the outline of the rear axle
mounting bracket to the chassis to
properly align the rear axle to the chassis for installation.
.gif)
Fig. 15: Rear Axle Mounting Bolts
- Remove the rear axle mounting bolts (1).
.gif)
Fig. 16: Rear Axle Assembly
- Lower the hydraulic jack with the rear axle and remove the rear axle
assembly (1).
Installation Procedure
.gif)
Fig. 17: Rear Axle Assembly
- Using a hydraulic jack stand with the DT 50187 supporter and the CH
51035 adapter , position the rear
axle assembly (1) in the vehicle.
.gif)
Fig. 18: Rear Axle Mounting Bracket
- Align the mounting points of the rear axle to the painted outline (1) on
the chassis.
.gif)
Fig. 19: Rear Axle Mounting Bolts
- Install the rear axle mounting bolts (1).
CAUTION: Refer to Fastener Caution .
- Using the EN-45059 meter , tighten the rear axle mounting bolts (1) to:
- First Pass 160 N.m (118 lb ft)
- Final Pass plus 38 degrees
- Install the rear spring. Refer to Rear Spring Replacement.
- Install the rear wheel bearing/hub mounting bolts to the rear axle.
Refer to Rear Wheel Bearing and
Hub Replacement (With Disc Brakes), Rear Wheel Bearing and Hub Replacement
(With Drum
Brakes).
- Install the rear park brake cables.
- Install the rear brake lines on the rear axle.
- Bleed the hydraulic brake system. Refer to Hydraulic Brake System
Bleeding (Manual) , Hydraulic
Brake System Bleeding (Pressure) .
- Install the tire and wheel assembly. Refer to Tire and Wheel Removal and
Installation .
- Remove the supports and lower the vehicle.
READ NEXT:
Special Tools
CH 43631 Ball Joint Separator
For the regional equivalent tool, refer to Special Tools.
Removal Procedure
Raise and support the vehicle. Refer to Lifting and Jacking the Vehicle
.
R
REAR SUSPENSION DESCRIPTION AND OPERATION
This vehicle has a beam rear suspension system consisting of the following
components:
An axle with integral trailing arms
A cross beam
Two coil springs
SEE MORE:
Removal Procedure
WARNING: Do not attempt to repair or alter the head impact
energy-absorbing
material glued to the headliner or to the garnish trims. If the material
is damaged, replace the headliner and/or the garnish trim. Failure to
do so could result in personal injury.
CAUTION: If a vehicle i
Place the transmission in the
proper gear.
Caution
If you add electrical parts or
accessories, you could change
the way the engine operates. Any
resulting damage would not be
covered by the vehicle warranty.
Caution
If the steering wheel is turned
until it reaches the end of its
travel, and is held