Chevrolet Trax: Hydraulic brake component operation visual inspection
Disc Brake
.gif)
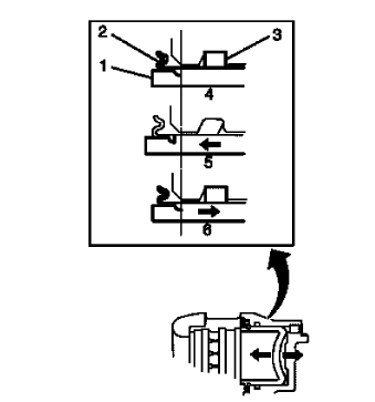
Fig. 6: Hydraulic Brake Component Operation
- With the tire and wheel assemblies removed and the brake rotors retained
by wheel lug nuts, visually
inspect the brake caliper piston dust boot (2) sealing area to ensure that
there are no brake fluid leaks.
- If any evidence of a brake fluid leak is present, the brake caliper
requires overhaul or replacement.
- While the brake system is at rest (4), observe the position of the brake
caliper piston (1) in relation to the
brake caliper housing.
- Have an assistant apply and release the brake pedal several times while
you observe the operation of the
hydraulic brake caliper.
- Observe the brake caliper piston (1) for unrestricted and even movement
during each apply of the
brake system (5).
- Observe the brake caliper piston (1) for an unrestricted and even return
motion during each release
of the brake system (6).
- If the brake caliper piston (1) did not exhibit unrestricted and even
movement during brake system apply
and/or release, the piston square seal (3) may be worn or damaged and the
brake caliper may require
overhaul or replacement.
Drum Brakes
.gif)
Fig. 7: Wheel Cylinder Piston Boot sealing Areas
- With the rear tire and wheel assemblies and the brake drums removed,
visually inspect the wheel cylinder
pistons boot sealing areas to ensure that there are no brake fluid leaks.
- If any evidence of a brake fluid leak is present, the brake wheel
cylinder requires replacement.
- Using firm hand pressure, simultaneously and evenly apply force on both
brake shoes in order to
compress the wheel cylinder pistons into their bore.
- Evenly release the force from both brake shoes to allow the wheel
cylinder pistons to return.
- If one or both of the wheel cylinder pistons did not exhibit
unrestricted and even movement during apply
and/or release of force, the wheel cylinder may require replacement.
BRAKE PIPE AND HOSE INSPECTION
WARNING: Refer to Brake Fluid Irritant Warning .
CAUTION: Refer to Brake Fluid Effects on Paint and Electrical
Components Caution
- Visually inspect all of the brake pipes for the following conditions:
- Kinks, incorrect routing, missing or damaged retainers
- Leaking fittings, excessive corrosion
- If any of the brake pipes exhibited any of the conditions listed, then
the identified pipe, or pipes, require
replacement.
- Ensure that the vehicle axles are correctly supported at ride height in
order to maintain the proper
relationship of the flexible brake hoses to the chassis.
.gif)
Fig. 8: Flexible Brake Hose Inspection Points
- Visually inspect all of the flexible brake hoses for the following
conditions:
- Kinks (1), improper routing, twists, chafing, missing or damaged
retainers
- Leaking connections, perished, cracked, blistered, brittle or bulging
hoses
- If any of the flexible brake hoses exhibited any of the conditions
listed, then the identified flexible brake
hose, or hoses require replacement.
- Squeeze the flexible brake hoses with firm finger pressure to inspect
for soft spots (2), indicating an
internal restriction. Inspect the entire length of each flexible brake hose.
- If any of the flexible brake hoses were found to have soft spots (2),
then the identified flexible brake hose,
or hoses require replacement.
BRAKE PEDAL PUSHROD INSPECTION
.gif)
Fig. 9: Inspecting Brake Pedal Pushrod
- Disconnect the brake pedal pushrod (2) from the brake pedal.
- Reposition the pedal pushrod boot (1) toward the front of the vehicle to
expose as much of the pedal
pushrod (2) as possible.
- Inspect the brake pedal pushrod (2) for straightness.
- If the brake pedal pushrod (2) is not straight, then the pushrod
requires replacement.
- Return the pedal pushrod boot (1) to its original position on the pedal
pushrod (2).
- Connect the brake pedal pushrod (2) to the brake pedal.
READ NEXT:
WARNING: Refer to Brake Fluid Irritant Warning
CAUTION: Refer to Brake Fluid Effects on Paint and Electrical
Components Caution .
Visually inspect the brake fluid level through the brake master cyl
Removal Procedure
WARNING: Refer to Brake Fluid Irritant Warning .
CAUTION: Refer to Brake Fluid Effects on Paint and Electrical
Components Caution .
Place the ignition switch in the OFF position.
SEE MORE:
Front View Camera Module Replacement
If the Front View Camera Module needs to be replaced, the following
procedures must be performed:
Connect a scan tool to the vehicle and access Service Programming System
(SPS).
Perform the SPS function Front View Camera Module - Programming and
follow th
NOTE: This is GENERAL information. This article is not intended to
be specific to any
unique situation or individual vehicle configuration. For model-specific
information see appropriate articles where available.
OVERVIEW
There are two types of transistor driver circuits used to operate electric
f