Chevrolet Trax: Exhaust front pipe replacement (LUV)
Removal Procedure
WARNING: Refer to Exhaust Service Warning .
WARNING: Refer to Protective Goggles and Glove Warning .
- Raise and support the vehicle. Refer to Lifting and Jacking the Vehicle
.
- Disconnect the heated oxygen sensor - position 2 from the exhaust front
pipe.
.gif)
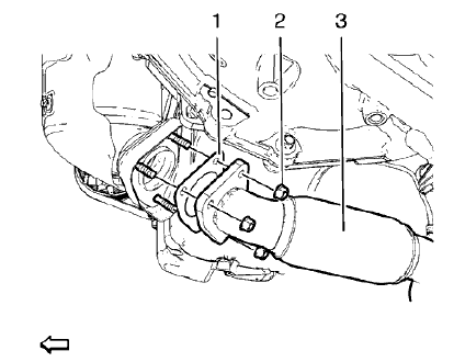
Fig. 1: Catalytic Converter And Exhaust Front Pipe
- Remove the 2 fasteners (4) securing the warm up 3 way catalytic
converter (3) to the exhaust front pipe (5).
- Discard the exhaust front pipe gasket (2).
.gif)
Fig. 2: Catalytic Converter
- Remove the 3 fasteners (2) securing the exhaust front pipe (3) to the
catalytic converter.
- Discard the exhaust front pipe gasket (1).
- Remove the exhaust front pipe (3).
- If you are replacing the exhaust front pipe, transfer the heated oxygen
sensor.
Installation Procedure
.gif)
Fig. 3: Catalytic Converter
- Install the exhaust front pipe (3) to the catalytic converter with a NEW
gasket (1) and hand tighten the
fasteners (2).
.gif)
Fig. 4: Catalytic Converter And Exhaust Front Pipe
CAUTION: Refer to Flex Decoupler Caution .
CAUTION: Refer to Fastener Caution .
- Install the exhaust front pipe (5) to the warm up 3 way
catalytic converter (3) with a NEW gasket (2) and
tighten the fasteners (4) to 17 (13 lb ft).
.gif)
Fig. 5: Catalytic Converter
- Tighten the exhaust front pipe fasteners (2) to 22 (16 lb ft).
- Connect the heated oxygen sensor - position 2 to the engine wiring
harness.
- Start the engine and check for exhaust leaks.
EXHAUST FRONT PIPE REPLACEMENT
Removal Procedure
WARNING: Refer to Exhaust Service Warning .
WARNING: Refer to Protective Goggles and Glove Warning .
- Raise and support the vehicle. Refer to Lifting and Jacking the Vehicle
.
- Disconnect the heated oxygen sensor - position 2 harness connector.
.gif)
Fig. 6: Muffler And Exhaust Pipe
NOTE: Do not twist or damage the flex coupling.
- Remove the 2 fasteners (3) securing the exhaust muffler (4) to the
exhaust front pipe (1).
- Discard the exhaust front pipe gasket (2).
.gif)
Fig. 7: Front Pipe Gasket And Fasteners
- Remove the 3 fasteners (1) securing the exhaust front pipe (3) to the
catalytic converter.
- Discard the exhaust front pipe gasket (2).
- Remove the exhaust front pipe (3).
- If you are replacing the exhaust front pipe, transfer the heated oxygen
sensor.
Installation Procedure
.gif)
Fig. 8: Pipe Gasket And Fasteners
- Install the exhaust front pipe (3) to the catalytic converter with a NEW
gasket (2) and hand tighten the
fasteners (1).
.gif)
Fig. 9: Muffler And Exhaust Pipe
CAUTION: Refer to Fastener Caution .
NOTE: Do not twist or damage the flex coupler.
- Install the exhaust front pipe (1) to the exhaust muffler (4) with a NEW
gasket (2) and tighten the
fasteners (3) to 17 (13 lb ft).
.gif)
Fig. 10: Pipe Gasket And Fasteners
- Tighten the exhaust front pipe fasteners (1) to 22 (16 lb ft).
- Connect the heated oxygen sensor - position 2 to the engine wiring
harness.
- Start the engine and check for exhaust leaks.
CATALYTIC CONVERTER REPLACEMENT (2H0)
.gif)
Fig. 11: Locating Catalytic Converter Components (1.8L LUW)
Catalytic Converter Replacement (2H0)
.jpg)
.jpg)
READ NEXT:
Removal Procedure
WARNING: Refer to Exhaust Service Warning .
WARNING: Refer to Protective Goggles and Glove Warning .
Remove the exhaust manifold heat shield. Refer to Exhaust Manifold Heat
Shiel
Fig. 22: Exhaust Muffler
Exhaust Muffler Replacement (LUV)
EXHAUST MUFFLER REPLACEMENT (2HO)
Fig. 23: Exhaust Muffler (2HO)
Exhaust Muffler Replacement (2HO)
CATALYTIC CONVERTER HEAT SHIEL
EXHAUST SYSTEM DESCRIPTION
NOTE: Use of non-OEM parts may cause driveability concerns.
The exhaust system carries exhaust gases, treated by the catalytic converter,
through a resonator, if applicable
SEE MORE:
NOTE: Examples used in this article are general in nature and do
not necessarily relate
to a specific engine or system. Illustrations and procedures have been chosen
to guide mechanic through engine overhaul process. Descriptions of processes
of cleaning, inspection, assembly and machine shop pract
Fig. 5: Illustrating Thrust Angles
The front wheels aim or steer the vehicle. The rear wheels control tracking.
This tracking action relates to the
thrust angle (3). The thrust angle is the path that the rear wheels take.
Ideally, the thrust angle is geometrically
aligned with the body centerlin