Chevrolet Trax: Engine coolant thermostat housing replacement (2H0, LDE)
Removal Procedure
CAUTION: Refer to Engine Coolant Thermostat Housing Caution
- Remove the battery tray. Refer to Battery Tray Replacement .
- Raise and support the vehicle. Refer to Lifting and Jacking the Vehicle
.
- Drain the cooling system. Refer to Cooling System Draining and Filling.
.gif)
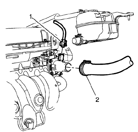
Fig. 43: Engine Wiring Harness Connector And Retainers
- Disconnect the engine harness connector (1) and harness fasteners (2)
from the engine harness bracket,
attached to the thermostat housing.
.gif)
Fig. 44: Wiring Harness Bracket And Nut
- Disconnect the throttle body heater inlet hose (1) and the electrical
connectors (2) to the thermostat
housing.
- Remove the engine harness bracket nut (3) and bracket (4) from the
thermostat housing.
.gif)
Fig. 45: Thermostat Heating Element Sensor & Radiator Inlet Hose
- Remove the radiator inlet hose (2) to the engine coolant thermostat
housing.
- Remove the heater outlet hose from the engine coolant thermostat housing.
Refer to Heater Outlet Hose
Replacement (2H0) .
- Remove the heater inlet hose from the engine coolant thermostat housing.
Refer to Heater Inlet Hose
Replacement (2H0) .
.gif)
Fig. 46: Identifying Engine Oil Cooler Outlet Pipe And Bolts
- Remove the engine oil cooler outlet pipe bolts (1).
- Remove the engine oil cooler outlet pipe (2) from the engine coolant
thermostat housing.
.gif)
Fig. 47: Engine Coolant Thermostat Housing, Seal And Mounting Bolts
- Remove the engine coolant thermostat housing mounting bolts (1) and
discard the seal (2).
- Remove the engine coolant thermostat housing (3) from the engine.
Installation Procedure
- Clean the sealing surface.
.gif)
Fig. 48: Engine Coolant Thermostat Housing, Seal And Mounting Bolts
- Install a NEW engine coolant thermostat housing seal (2).
- Loosely install the engine coolant thermostat housing mounting bolts
(1).
.gif)
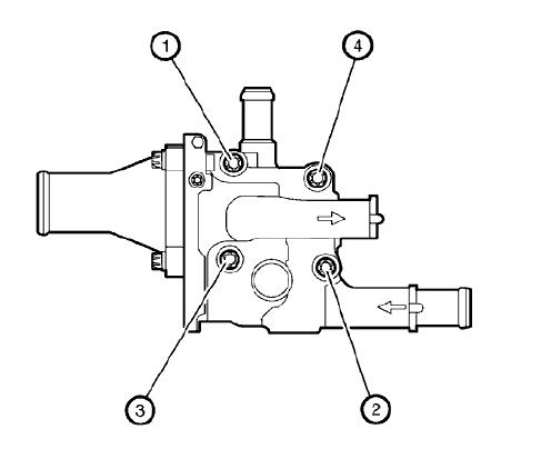
Fig. 49: Identifying Engine Coolant Thermostat Housing Bolts Tightening
Sequence
CAUTION: Following the proper fastener tightening sequence and torque
is
essential. Failure to do so may fracture the thermostat housing.
CAUTION: Refer to Fastener Caution
- Tighten the 4 engine coolant thermostat housing bolts to 8 N.m (71 lb in)
in sequence (1-2-3-4).
.gif)
Fig. 50: Identifying Engine Coolant Temperature Sensor Connector, Engine Oil
Cooler Pipe And
Thermostat Housing
- Install NEW engine oil cooler pipe seals (4, 7).
NOTE: Push the engine oil cooler pipe into the engine oil cooler.
- Install the engine oil cooler pipe (5).
- Install the 2 engine oil cooler pipe bolts (6) and tighten to 8 N.m (71
lb in).
- Install the heater inlet hose to the engine coolant thermostat housing.
Refer to Heater Inlet Hose
Replacement (2H0) .
- Install the heater outlet hose to the engine coolant thermostat housing.
Refer to Heater Outlet Hose
Replacement (2H0) .
.gif)
Fig. 51: Wiring Harness Bracket And Nut
- Connect the electrical connectors (2) to the engine coolant thermostat
housing.
- Install the throttle body heater inlet hose (1) to the engine coolant
thermostat housing.
- Install the engine coolant thermostat housing bracket (4) and nut (3)
and tighten to 6 N.m (53 lb in).
.gif)
Fig. 52: Thermostat Heating Element Sensor & Radiator Inlet Hose
- Install the radiator inlet hose (2) to the engine coolant thermostat
housing.
- Fill the cooling system. Refer to Cooling System Draining and Filling.
- Install the battery tray. Refer to Battery Tray Replacement .
- Start the engine and check for coolant leaks.
READ NEXT:
Removal Procedure
WARNING: Refer to Battery Disconnect Warning .
Disconnect the battery negative cable. Refer to Battery Negative Cable
Disconnection and
Connection .
Drain the coolant. Refer to
Removal Procedure
Drain the cooling system. Refer to Cooling System Draining and Filling.
Remove the air cleaner outlet duct. Refer to Air Cleaner Outlet Duct
Replacement .
Fig. 63: Engine Coo
Removal Procedure
Drain the cooling system. Refer to Cooling System Draining and Filling.
Remove the charge air cooler outlet air hose from the throttle body.
Refer to Charge Air Cooler Outlet
A
SEE MORE:
NOTE: Use the symptom tables only if the following conditions are
met:
Refer to Diagnostic Starting Point - Vehicle .
There are no DTCs set.
The control modules can communicate via the serial data link.
Review the system operation in order to familiarize yourself with the
system functions. Re
Warning
If a LATCH-type child restraint is
not attached to anchors or with
the safety belt, the child restraint
will not be able to protect the child
correctly. In a crash, the child
could be seriously injured or
killed. Install a LATCH-type child
restraint properly using the
anchors, or use the veh