TRANSMISSION SYSTEM DESCRIPTION AND OPERATION
The M32-6 is a 6-speed manual transmission. This manual transmission is an all-synchromesh 3-shaft transmission.
.gif)
Fig. 93: 3 Shaft Transmission
This 3-shaft transmission (1) has the following advantages:
Location of the Shafts
The following cross-sectional diagram shows the location of the respective shafts in the M32-6 transmission, as per the 3-shaft principle
.gif)
Fig. 94: Shaft Locations
.jpg)
In this transmission angular cone bearings are used for all shafts. These bearings require a certain amount of play and pretension. The required amount of bearing play and pretension is achieved at the production stage by using shims under the angular cone bearing in the transmission housing.
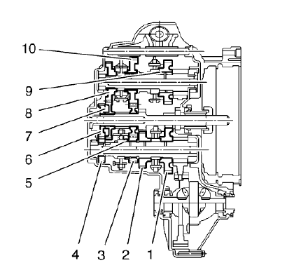
Location of Gearwheels
This diagram shows the location of the gearwheels on the respective shaft.
.gif)
Fig. 95: Gearwheel Locations
.jpg)
Power Flow in the Individual Gears
The following diagrams show the flow of power in the individual gears.
.gif)
Fig. 96: Transmission 1st Gear Power Flow
1st gear
.gif)
Fig. 97: Transmission 2nd Gear Power Flow
2nd gear
.gif)
Fig. 98: Transmission 3rd Gear Power Flow
3rd gear
.gif)
Fig. 99: Transmission 4th Gear Power Flow
4th gear
.gif)
Fig. 100: Transmission 5th Gear Power Flow
5th gear
.gif)
Fig. 101: Transmission 6th Gear Power Flow
6th gear
.gif)
Fig. 102: Transmission Reverse Gear Power Flow
Reverse gear
TRANSMISSION IDENTIFICATION INFORMATION
.gif)
Fig. 103: Transmission Code Plate
The code for the M32-6 transmission will be found on the back of the transmission housing, above the axle shaft. In addition, an Alphacode sticker will be placed on the cover of the differential.
SPECIAL TOOLS AND EQUIPMENT
SPECIAL TOOLS
.jpg)
.jpg)
.jpg)
.jpg)
.jpg)
Clutch
Repair instructions
Clutch master cylinder replacement
Programming Transmitters to
the Vehicle
DTC P0480, P0481, P0691, P0692, P0693, OR P0694 (LUJ OR LUV): Cooling fan
relay 1/2/3 control circuit