MANUAL TRANSMISSION COMPONENT VIEWS
Shift Control and Shift Lever/Selector Lever Cable Components
.gif)
Fig. 3: Shift Control and Shift Lever/Selector Lever Cable Components
.jpg)
Shift Shaft Components
.gif)
Fig. 4: Shift Shaft Components
.jpg)
Clutch Housing Components - Right Hand View
.gif)
Fig. 5: Locating Clutch Housing Components - Right Side
.jpg)
Clutch Housing Components- Left Hand View
.gif)
Fig. 6: Locating Clutch Housing Components - Left Side
.jpg)
Transmission Housing Components
.gif)
Fig. 7: Transmission Housing Components
.jpg)
Transmission Shafts Overview
.gif)
Fig. 8: Transmission Shafts
.jpg)
Input Shaft
.gif)
Fig. 9: Input Shaft
.jpg)
Upper Main Shaft
.gif)
Fig. 10: Upper Main Shaft
.jpg)
Lower Main Shaft
.gif)
Fig. 11: Lower Main Shaft
.jpg)
1st / 2nd Gear Synchronizer
.gif)
Fig. 12: 1st/2nd Gear Synchronizer
.jpg)
.jpg)
3rd/4th Gear Synchronizer
.gif)
Fig. 13: 3rd/4th Gear Synchronizer
.jpg)
.jpg)
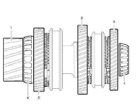
5th / 6th Gear Synchronizer
.gif)
Fig. 14: 5th/6th Gear Synchronizer
.jpg)
.gif)
Reverse Gear Synchronizer
.gif)
Fig. 15: Reverse Gear Synchronizer
.jpg)
DTC P0502 OR P0503: Vehicle speed sensor (VSS)
DTC P0806-P0808: Clutch pedal position (CPP) Sensor
Front compartment side rail sectioning
DTC P0601, P0603, P0604, OR P062F: Control module memory