Chevrolet Trax: Transmission fluid cooler hose/pipe quick-connect fitting disconnection and
connection
Removal Procedure
.gif)
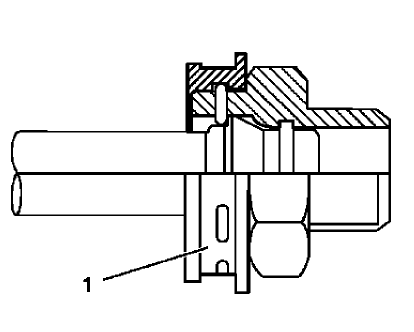
Fig. 20: Automatic Transmission Oil Cooler Fitting Retaining Ring
NOTE: Perform the following procedure when removing the
retaining rings and
cooler lines from the quick connect fittings located on the radiator and/or
the transmission.
- Pull the plastic cap back from the quick connect fitting and down along
the cooler line about 5 cm (2 in).
- Using a bent-tip screwdriver, pull on one of the open ends of the
retaining ring (1) in order to rotate the
retaining ring around the quick connect fitting until the retaining ring is
out of position and can be
completely removed.
- Remove the retaining ring from the quick connect fitting.
- Discard the retaining ring.
.gif)
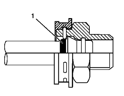
Fig. 21: Automatic Transmission Cooler Line
- Pull the cooler line (1) straight out from the quick connect fitting
(2).
Installation Procedure
NOTE:
- Do not reuse any of the existing oil lines or oil line fittings
if there is
excessive corrosion.
- Do not reuse any of the existing retaining rings that were removed
from the existing quick connect fittings. Install new retaining rings.
- Ensure the following procedures are performed when installing the
new retaining rings onto the fittings.
- Install a new retaining ring into the quick connect fitting using the
following procedure:
.gif)
Fig. 22: Automatic Transmission Oil Cooler Fitting Retaining Ring
- Hook one of the open ends of the retaining ring (1) in one of the slots
in the quick connect fitting.
.gif)
Fig. 23: Rotating Automatic Transmission Oil Cooler Fitting Retaining Ring
- Rotate the retaining ring (1) around the fitting until the retaining
ring is positioned with all three ears
through the three slots on the fitting.
.gif)
Fig. 24: Automatic Transmission Oil Cooler Fitting Retaining Ring Caution
- Do not install the new retaining ring (1) onto the fitting by pushing
the retaining ring.
.gif)
Fig. 25: Retaining Ring Ears
- Ensure that the three retaining ring ears are seen from inside the
fitting (1) and that the retaining ring
moves freely in the fitting slots.
.gif)
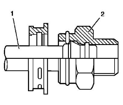
Fig. 26: Cutaway View Of Automatic Transmission Oil Cooler Fitting
- Install the cooler line (1) into the quick connect fitting (2).
- Insert the cooler line end into the quick connect fitting until a
click is either heard or felt.
.gif)
Fig. 27: Automatic Transmission Oil Cooler Line And Fitting Caution
- Do not use the plastic cap (1) on the cooler line in order to install
the cooler line into the fitting.
- Pull back sharply on the cooler line in order to ensure that the cooler
line is fastened into the quick
connect fitting.
.gif)
Fig. 28: Automatic Transmission Oil Cooler Fitting Plastic Cap
NOTE: Do not manually depress the retaining clip when installing
the plastic cap.
- Position (snap) the plastic cap (1) onto the fitting. Do not manually
depress the retaining ring when
installing the plastic cap onto the quick connect fitting.
- Ensure that the plastic cap is fully seated against the fitting.
.gif)
Fig. 29: Automatic Transmission Oil Cooler Fitting Plastic Cap Caution
- Ensure that no gap is present between the plastic cap (1) and the
fitting (2).
.gif)
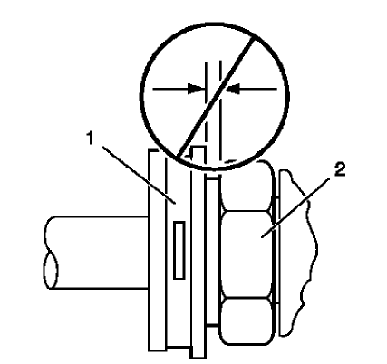
Fig. 30: Yellow Identification Band
- Ensure that the yellow identification band (1) on the tube is hidden
within the quick connect fitting.
.gif)
Fig. 31: Yellow Identification Band Caution
- A hidden yellow identification band (1) indicates proper joint seating.
- Fill the transmission to the proper level. Refer to Transmission Fluid
Level and Condition Check .
READ NEXT:
Fig. 32: Transmission Fluid Cooler Hose/Pipe
Transmission Fluid Cooler Hose/Pipe Replacement
TRANSMISSION FLUID COOLER INLET PIPE REPLACEMENT
Fig. 33: Transmission Fluid Cooler Inlet Pipe
Transm
SEE MORE:
Special Tools
DT-45201 Cooler Line Seal Remover
DT-49101 Seal Installer
For equivalent regional tools, refer to Special Tools .
Removal Procedure
Remove the battery tray. Refer to Battery Tray Replacement .
Remove the manual shaft and position switch assembly. Refer to Manual
Shift Detent L
Useful information about a tire is
molded into its sidewall. The
examples show a typical
passenger vehicle tire and a
compact spare tire sidewall.
Passenger (P-Metric) Tire Example
(1) Tire Size: The tire size is a
combination of letters and
numbers used to define a
particular tire's width, height