Chevrolet Trax: Rear brake cylinder overhaul
Disassembly Procedure
WARNING: Refer to Brake Dust Warning .
WARNING: Refer to Brake Fluid Irritant Warning .
- Raise and support the vehicle. Refer to Lifting and Jacking the Vehicle
.
- Remove the rear brake cylinder. Refer to Rear Brake Cylinder Replacement.
.gif)
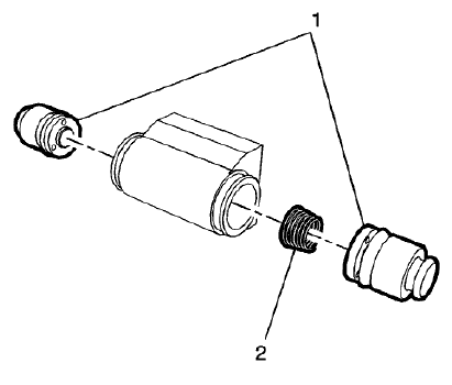
Fig. 52: Brake Cylinder Dust Seals
- Remove and discard the brake cylinder dust seals (1).
.gif)
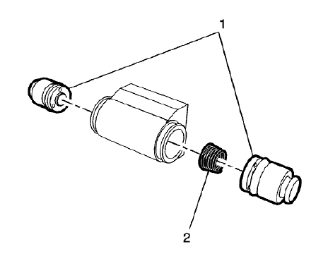
Fig. 53: Brake Cylinder Pistons And Spring
- Remove the brake cylinder pistons (1) and spring (2).
- Remove and discard the brake cylinder piston seals.
- Inspect the brake cylinder bore for excessive corrosion, scoring, nicks,
and pitting.
- If the brake cylinder bore exhibits the above conditions, the brake
cylinder assembly requires
replacement.
- Remove light corrosion in the cylinder bore with a fine crocus cloth.
- Thoroughly clean the brake cylinder and pistons with denatured alcohol
and dry with filtered, nonlubricated
compressed air.
Assembly Procedure
- Lightly lubricate the new piston seals and brake cylinder bore with GM
approved brake fluid from a
clean, sealed, brake fluid container.
- Assemble the new piston seals with the lip of the seals facing
inward to the brake cylinder pistons
.gif)
Fig. 54: Brake Cylinder Pistons And Spring
- Install the brake cylinder pistons (1) and spring (2) into the brake
cylinder bore.
.gif)
Fig. 55: Brake Cylinder Dust Seals
NOTE: Do not lubricate the brake cylinder dust seals.
- Install the new brake cylinder dust seals (1).
- Install the rear brake cylinder. Refer to Rear Brake Cylinder
Replacement.
- Bleed the hydraulic brake system. Refer to Hydraulic Brake System
Bleeding (Manual) , Hydraulic
Brake System Bleeding (Pressure) .
READ NEXT:
Special Tools
CH-21177-A Drum to Brake Shoe Clearance Gauge
For equivalent regional tools, refer to Special Tools.
WARNING: Refer to Brake Dust Warning
Ensure the park brake lever is in the fully re
DRUM BRAKE SYSTEM DESCRIPTION AND OPERATION
System Component Description
The drum brake system consists of the following:
Drum Brake Shoes
Applies mechanical output force, from hydraulic brake wheel c
SEE MORE:
The vehicle may have a CD player.
The CD player can play audio CDs
and MP3 CDs.
The CD player will not play
8 cm (3 in) CDs.
Care of CDs
Sound quality can be reduced due
to disc quality, recording method,
quality of the music recorded, and
how the disc has been handled.
Handle discs carefully and
Hydraulic Brakes Block Diagram
Fig. 193: Hydraulic Brakes Block Diagram
In order to assure that vacuum is available to the vacuum brake booster, the
car can contain a vacuum pump
either in addition to the normal intake manifold vacuum source or as stand-alone.
The pump provides negative
pressu